Udział 2/12 w nieruchomości - Niwy
Niwy gm. Osielsko Pokaż na mapie ›
Dodane: Niedziela, 18 Styczeń, 2026 08:56
42 466,50 zł
13 zł/m2
Szczegóły ogłoszenia
- Kategoria: Działki i grunty / Sprzedaż
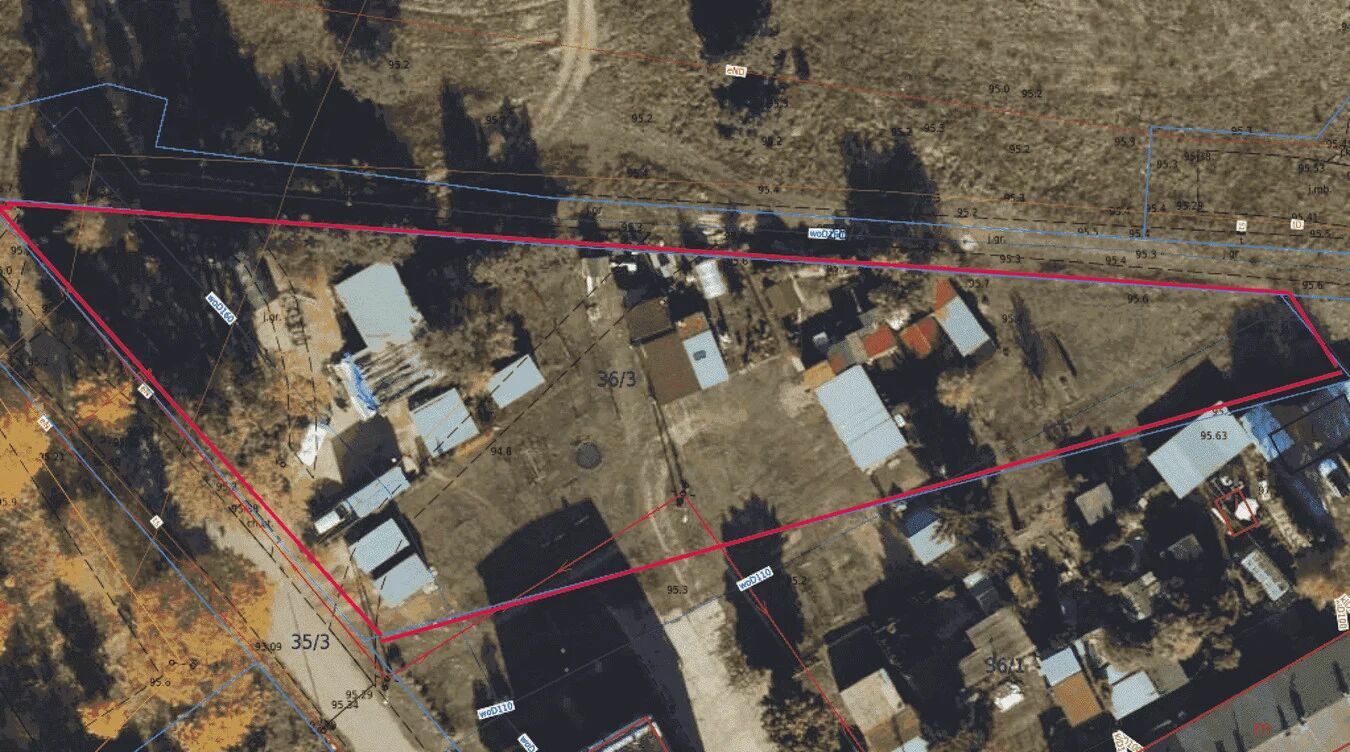
- Pow. działki:3185 m2
- Rodzaj działki:Budowlana
- Sprzedaż:Pośrednik
- Cena: 42 466,50 zł / 13 zł/m2
Opis oferty
Oferta do internetu:Syndyk sprzeda udział 2/12 części w prawie własności działki ewidencyjnej nr 36/3 o powierzchni 0,3185ha, położonej w obrębie Niwy, Gminie Osielsko, powiecie bydgoskim
Treść ogłoszenia:
Syndyk masy upadłości Zakładów Mięsnych w Bydgoszczy „BYD-MEAT” SA w likwidacji w upadłości zaprasza do składania ofert na zakup udziału wynoszącego 2/12 części w prawie własności działki ew. nr 36/3, o pow. 0,3185ha, przeznaczonej zgodnie z miejscowym planem zagospodarowania przestrzennego pod usługi i mieszkalnictwo (11 U/MN), położonej w obrębie 0009 Niwy, gm. Osielsko, powiecie bydgoskim, dla której Sąd Rejonowy w Bydgoszczy prowadzi księgę wieczystą o nr BY1B/00030943/8
za cenę nie niższą niż 50% wartości oszacowania tj. 42.466,50 zł netto (czterdzieści dwa tysiące czterysta sześćdziesiąt sześć złotych 50/100).
Warunkiem uczestnictwa w pisemnym konkursie ofert jest wpłata wadium w terminie do dnia 16 lutego 2026 r. w wysokości 10% ceny wywoławczej tj. kwoty 4.246,65 zł (cztery tysiące dwieście czterdzieści sześć złotych 65/100) na rachunek bankowy masy upadłości:
BYD-MEAT SA W LIKWIDACJI W UPADŁOŚCI
96 1020 1462 0000 7902 0452 8857
tytułem: „Wadium konkurs ofert NIWY- udział 2/12 w działce ew. 36/3, imię i nazwisko/nazwa oferenta”
Sprzedaż prowadzona jest na podstawie regulaminu sprzedaży.
Regulamin sprzedaży, informacje o nieruchomości oraz operat szacunkowy można uzyskać wysyłając zapytanie na adres: @ lub pod nr telefonu: 790 - pokaż numer telefonu - lub 515 - pokaż numer telefonu - .
Termin składania ofert: 16 lutego 2026 r. do godziny 15:00 osobiście lub listem poleconym na adres: Kancelaria Syndyka Katarzyna Kujawa, ul. Chodkiewicza 17, 85-065 Bydgoszcz.
Uwaga! Decyduje data i godzina wpływu do Kancelarii Syndyka.
Otwarcie i rozpoznanie ofert nastąpi na posiedzeniu jawnym dnia 17 lutego 2026 r. o godzinie 11:00 w Kancelarii Notarialnej Szymona Pollaka w Bydgoszczy przy ul. Chodkiewicza 15.
Zapraszam do składania ofert!
Ogłoszenie
Konto firmowe
Na Lento.pl od 09 lut 2018
Strona użytkownika
- Wypromuj ogłoszenie
- Zgłoś naruszenie
- Drukuj ulotkę
- Edytuj/usuń ogłoszenie
- Udostępnij ogłoszenie
- Dodaj na Facebook







